QED-1
Associated Organization:
Publications
The QED-1 device and measurements of gettering efficiency for a simulated divertor plasmaYears Operated
1976 - 1976
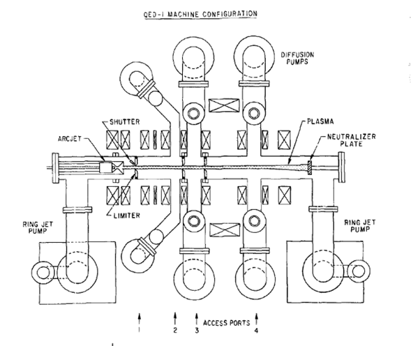
The Quiet-Energetic-Dense (QED-1) device was an arcjet linear device located at PPPL. It had a length of 1.6 m and a radius of 0.1 m. It could achieve up to 0.6 T magnetic field and electron and ion temperatures of 15 eV. The electron densities were between 10<sup>18</sup> and 10<sup>21</sup> m<sup>-3</sup>. It was built to improve the understanding of plasma stability in high density plasmas and was an improved version of a similar device constructed in UCLA.
